
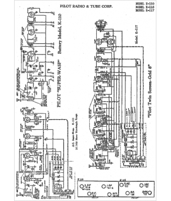
Marque :
Pilot
Modèle :
K117
Type appareil :
récepteur à tubes
Année :
1930
Pays d'origine :
Grande-Bretagne, États-Unis
