
Marque :
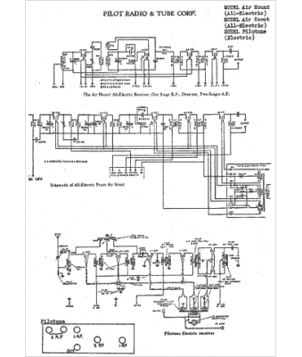
Pilot
Modèle :
Air Scout
Type appareil :
récepteur à tubes
Pays d'origine :
Grande-Bretagne, États-Unis
