
Marque :
Philips
Modèle :
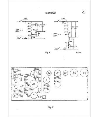
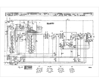
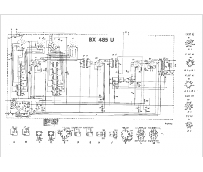
BX 485 U
Type appareil :
récepteur à tubes
Pays d'origine :
Pays-Bas, Suisse, Espagne, Allemagne
