
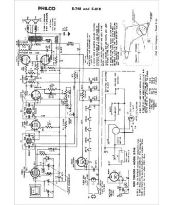
Marque :
Philco
Modèle :
E-818
Type appareil :
récepteur à tubes
Année :
1957
Pays d'origine :
Grande-Bretagne, États-Unis
