
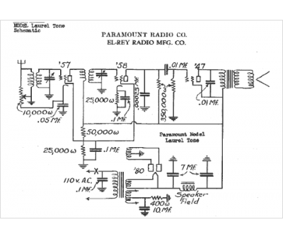
Marque :
Paramount
Modèle :
Laurel Tone
Type appareil :
récepteur à tubes
Année :
1934
Pays d'origine :
États-Unis
