
Marque :
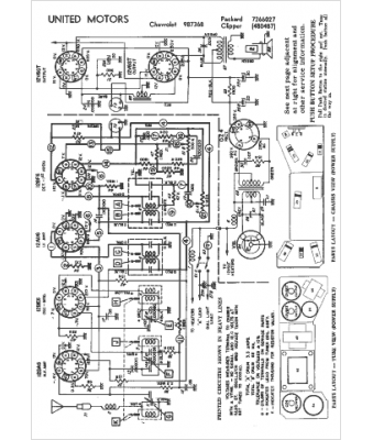
Packard
Modèle :
7266027
Type appareil :
récepteur à tubes
Année :
1956
Pays d'origine :
États-Unis
