
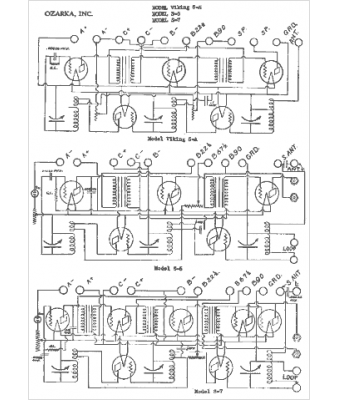
Marque :
Ozarka
Modèle :
S-5
Type appareil :
récepteur à tubes
Année :
1932
Pays d'origine :
États-Unis
