Retour à l'accueil
 
 
Recherche de schémas
Collection CD/DVD

Service schémathèque 

1 document correspond à votre recherche.

Caractéristiques de l'appareil
Marque :
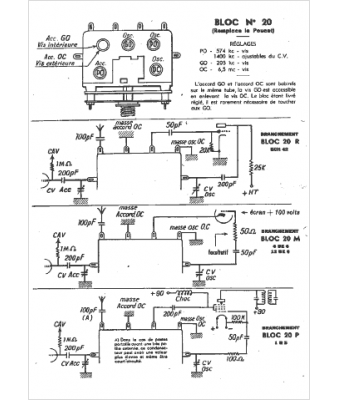
Oreor
Modèle :
Bloc 20
Type appareil :
Bobinage bloc d'accord
1 document correspondant à cet appareil
Oreor Bloc 20
2 pages.
Document présent dans Rétro-docs 3 Acheter
En ligne, disponible en téléchargement Télécharger
La consultation de cet espace schémathèque est en accès libre.