
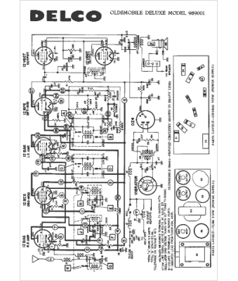
Marque :
Oldsmobile
Modèle :
989001
Type appareil :
récepteur à tubes
Année :
1958
Pays d'origine :
États-Unis
