
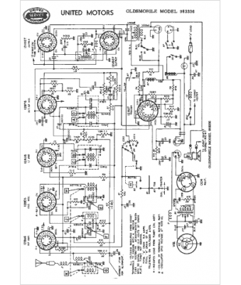
Marque :
Oldsmobile
Modèle :
983336
Type appareil :
récepteur à tubes
Année :
1956
Pays d'origine :
États-Unis
