
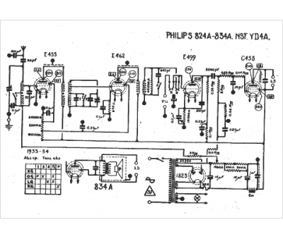
Marque :
NSF
Modèle :
YD 4 A
Type appareil :
récepteur à tubes
Année :
1936
