
Marque :
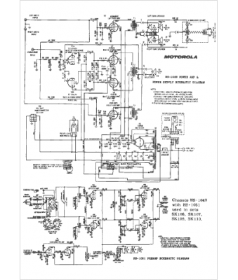
Motorola
Modèle :
SK109
Type appareil :
récepteur à tubes
Pays d'origine :
États-Unis
