
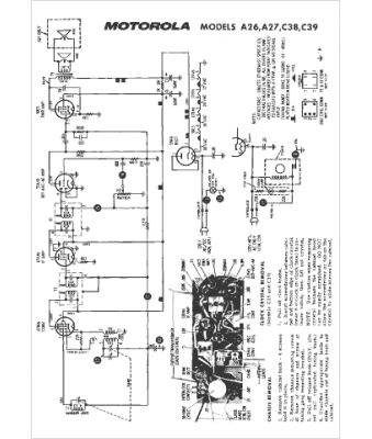
Marque :
Motorola
Modèle :
A27
Type appareil :
récepteur à tubes
Année :
1965
Pays d'origine :
États-Unis
