
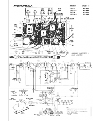
Marque :
Motorola
Modèle :
5R23G-1
Type appareil :
récepteur à tubes
Année :
1958
Pays d'origine :
États-Unis
