
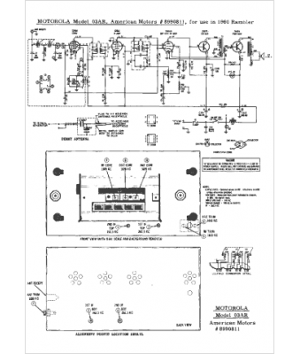
Marque :
Motorola
Modèle :
03AR
Type appareil :
récepteur à tubes
Année :
1960
Pays d'origine :
États-Unis
