
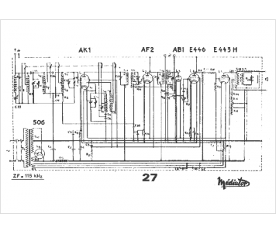
Marque :
															Mediator																																															
														Modèle :
																27																																	
															Type appareil :
																récepteur
															Pays d'origine :
																Suisse
															




