
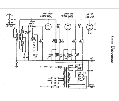
Marque :
Lorenz
Modèle :
Universo
Type appareil :
récepteur à tubes
Année :
1929
Pays d'origine :
Allemagne
