
Marque :
La Voce del Padrone
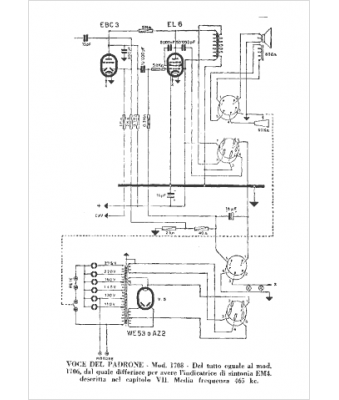
Modèle :
1708
Type appareil :
récepteur à tubes
Pays d'origine :
Italie
