
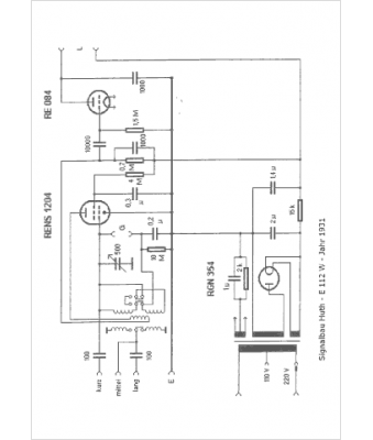
Marque :
Huth
Modèle :
E 112 W
Type appareil :
récepteur à tubes
Pays d'origine :
Allemagne
