
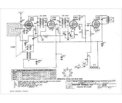
Marque :
Hispano-Suiza
Modèle :
249
Type appareil :
récepteur à tubes
Pays d'origine :
Espagne
