
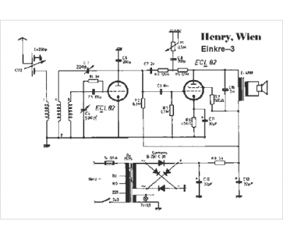
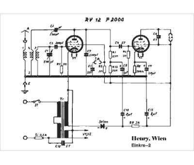
Marque :
Henry
Modèle :
Einkre--
Type appareil :
récepteur à tubes
Pays d'origine :
Autriche
