
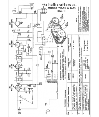
Marque :
Hallicrafters
Modèle :
TW-55
Type appareil :
récepteur à tubes
Année :
1955
Pays d'origine :
États-Unis
