
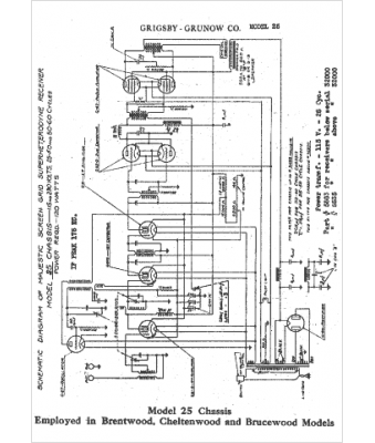
Marque :
Grisby Grunow
Modèle :
25
Type appareil :
récepteur à tubes
Année :
1932
Pays d'origine :
États-Unis
