
Marque :
Gerufon
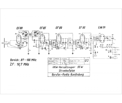
Modèle :
UKW Vorsetzer-95 W
Type appareil :
récepteur à tubes
Pays d'origine :
Allemagne
