
Marque :
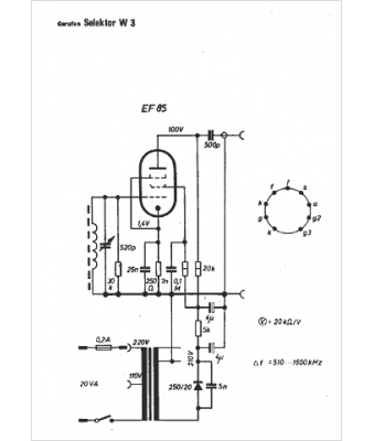
Gerufon
Modèle :
Selektor W 3
Type appareil :
récepteur à tubes
Pays d'origine :
Allemagne
