
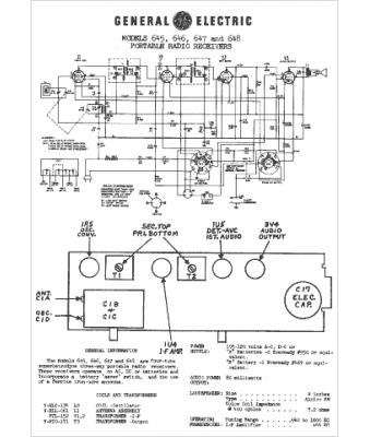
Marque :
GEC
Modèle :
645
Type appareil :
récepteur à tubes
Année :
1955
Pays d'origine :
Grande-Bretagne, États-Unis
