
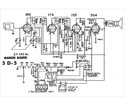
Marque :
Garod
Modèle :
5D-5
Type appareil :
récepteur à tubes
Année :
1948
Pays d'origine :
Italie, États-Unis
