
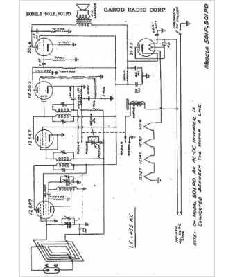
Marque :
Garod
Modèle :
501P
Type appareil :
récepteur à tubes
Année :
1942
Pays d'origine :
Italie, États-Unis
