
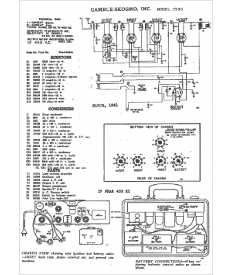
Marque :
Gamble-Skogmo
Modèle :
C590
Type appareil :
récepteur à tubes
Année :
1941
Pays d'origine :
États-Unis
