
Marque :
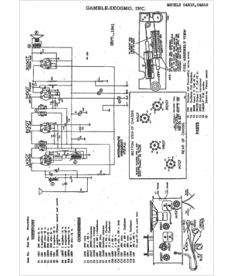
Gamble-Skogmo
Modèle :
C4B15
Type appareil :
récepteur à tubes
Année :
1941
Pays d'origine :
États-Unis
