
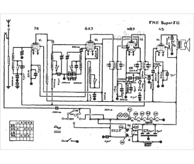
Marque :
FNR
Modèle :
super 5 u
Type appareil :
récepteur à tubes
Année :
1934
Pays d'origine :
Belgique
