
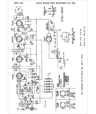
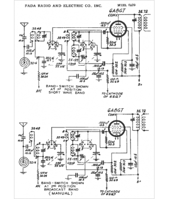
Marque :
Fada
Modèle :
6A39
Type appareil :
récepteur à tubes
Année :
1948
Pays d'origine :
France, États-Unis
