
Marque :
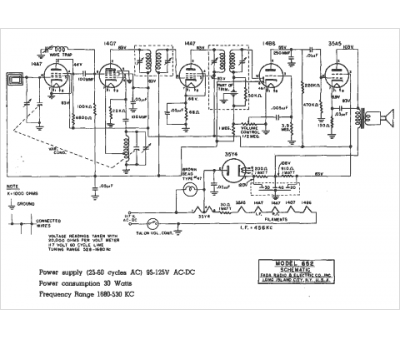
Fada
Modèle :
652
Type appareil :
récepteur à tubes
Année :
1946
Pays d'origine :
France, États-Unis
