
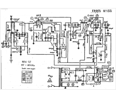
Marque :
Erres
Modèle :
KY 155
Type appareil :
récepteur à tubes
Année :
1936
