
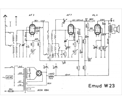
Marque :
EMUD
Modèle :
W 23
Type appareil :
récepteur à tubes
Pays d'origine :
Allemagne
