
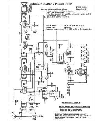
Marque :
Emerson
Modèle :
B131
Type appareil :
récepteur à tubes
Année :
1936
Pays d'origine :
États-Unis
