
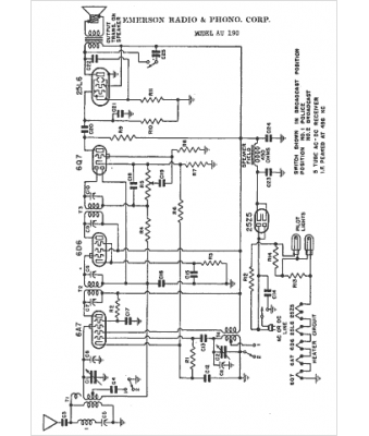
Marque :
Emerson
Modèle :
AU-190
Type appareil :
récepteur à tubes
Année :
1938
Pays d'origine :
États-Unis
