
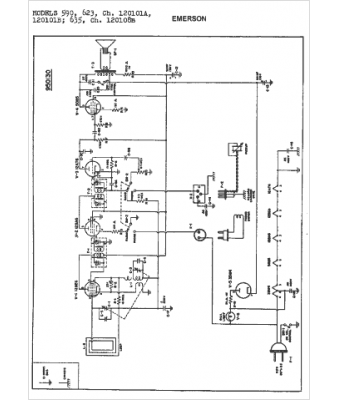
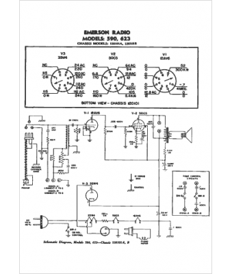
Marque :
Emerson
Modèle :
120101B
Type appareil :
récepteur à tubes
Année :
1950
Pays d'origine :
États-Unis
