
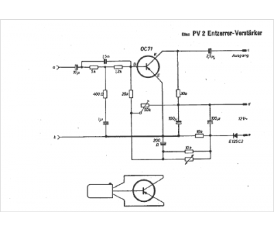
Marque :
Ehra
Modèle :
Phono PV 2
Type appareil :
récepteur à tubes
Pays d'origine :
Allemagne
