
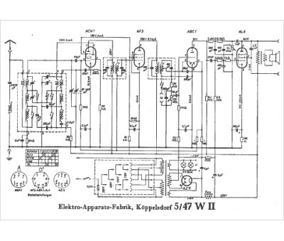
Marque :
EAK
Modèle :
5 47 W2
Type appareil :
récepteur à tubes
Pays d'origine :
Allemagne
