
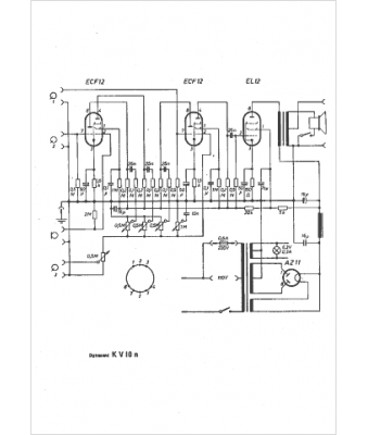
Marque :
Dynacord
Modèle :
KV 10 N
Type appareil :
récepteur à tubes
Pays d'origine :
Allemagne
