
Marque :
Ducretet
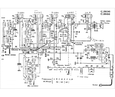
Modèle :
C 2666
Type appareil :
récepteur à tubes
Année :
1935
Pays d'origine :
France
