
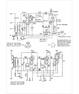
Marque :
DKE
Modèle :
38-40
Type appareil :
récepteur à tubes
Pays d'origine :
Allemagne
