
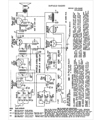
Marque :
Dewald
Modèle :
648
Type appareil :
récepteur à tubes
Année :
1938
Pays d'origine :
États-Unis
