
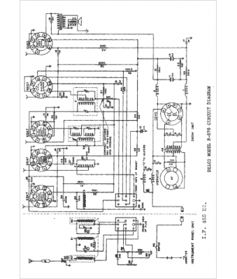
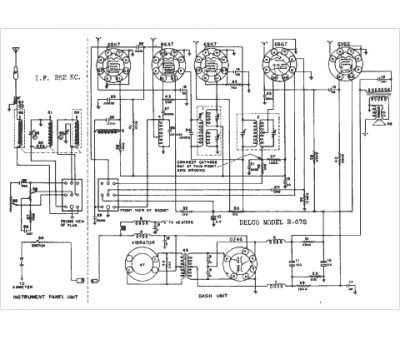
Marque :
Delco
Modèle :
R-678
Type appareil :
récepteur à tubes
Année :
1939
Pays d'origine :
États-Unis
