
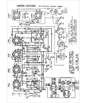
Marque :
Delco
Modèle :
988623
Type appareil :
récepteur à tubes
Année :
1957
Pays d'origine :
États-Unis
