
Marque :
Crosley
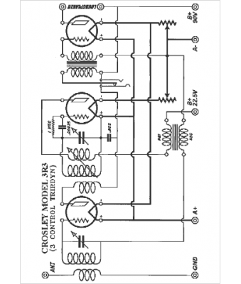
Modèle :
3R3
Type appareil :
récepteur à tubes
Année :
1941
Pays d'origine :
Italie, États-Unis
