
Marque :
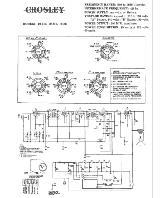
Crosley
Modèle :
10-311
Type appareil :
récepteur à tubes
Pays d'origine :
Italie, États-Unis
