
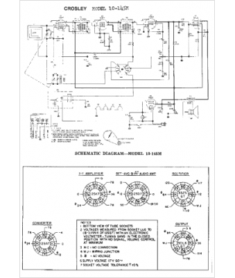
Marque :
Crosley
Modèle :
10-145M
Type appareil :
récepteur à tubes
Année :
1950
Pays d'origine :
Italie, États-Unis
