
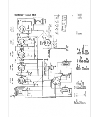
Marque :
Coronet
Modèle :
6B2
Type appareil :
récepteur à tubes
Année :
1950
Pays d'origine :
États-Unis
